
MIC EC 912
离子浓度计在烟感测试箱中的应用
烟感火灾探测器是火灾早期预警的核心设备,高灵敏度的烟雾报警器能够更早发出预警。无论哪种报警器,要确保它符合安全标准、保持高灵敏度,都得经过专业测试。对于离子型烟雾报警器,需要精准检测其对烟雾浓度的响应阈值,只有通过严格测试,才能保证报警器在烟雾达到危险浓度时,准确、及时地报警,否则很可能导致测量误差。其灵敏度检测需依托烟感测试箱构建标准烟雾环境,烟雾浓度的精准测量与控制需符合 GB 4715-2024《点型感烟火灾探测器》、EN 54-7 等标准的关键技术环节。
Force Technology 的 MIC EC-912 离子浓度计作为专为烟感测试场景设计的专业检测设备,基于电离室测量原理,能精准测量烟雾密度,专门用于烟雾报警器的测试工作,符合 GB 4715-2024《点型感烟火灾探测器》、EN 54-7 等标准。
/ 离子浓度计核心技术原理 /

离子浓度计测试原理和离子型烟雾报警器测试原理类似,离子型烟雾报警器基于空气离子迁移率测量法,传感器中有极少量的α放射性物质(镅Am241)在两个带电板块之间,在α粒子的撞击下,空气引起电离,产生大量的带正电荷的离子和电子, 当在电离室两端加上一定的电压后,使得空气中的正负离子向相反的电极移动形成电流, 一旦有烟雾进入到电离室,干扰了带电粒子的正常运动,电流就会有变化,检测电路将此变化的电信号放大, 变化量达到报警点时, 使报警器进入报警状态。但是,离子型烟雾报警器核心作用是火灾预警,当环境中烟雾浓度达到预设危险阈值时,迅速触发声光报警,提醒场所内人员及时避险,面向住宅、办公楼等普通场景的消防安全防护,是保障日常安全的终端预警设备。而离子浓度计主要用于离子型烟雾报警器的专业检测与校准工作。为烟感测试烟箱里的离子烟感报警器提供浓度参照值,确保离子型烟雾报警器的高灵敏度。
/ 离子浓度计在烟感测试箱的应用 /

烟雾测试箱(隧道) [图片选自网络]
MIC EC-912 离子浓度计在烟感测试箱的应用主要基于 GB 4715-2024《点型感烟火灾探测器》、EN 54-7 等标准。响应阈值是该标准要求的重要参数,离子探测器的响应阈值由含有离子浓度计的烟感测试箱测得。
其计算公式如下:
Z×d=η ×y, y=1−(I/I0)
I0: 腔室无烟时的电离电流,单位 pA;
I: 腔室有烟时的电离电流,单位 pA;
η: 电离室常数;
Z: 每平方米内烟粒子数(单位:1/m3);
y: 无量纲阈值指标(响应阈值)。
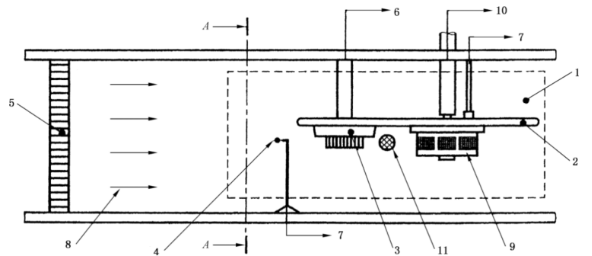
含有离子浓度计的烟感测试箱内部结构图如下:

1 测量工作区;
2 测量平台;
3 探测器;
4 温度传感器;
5 整流栅;
6 控制和指示设备连接处;
7 烟箱控制指示设备连接处;
8 气流;
9 离子浓度计;
10 离子浓度计抽气装置连接处;
11 光学密度计。
离子浓度计可搭配烟感测试箱完成测量的参数如下:
响应阈值
响应重复性
一致性
电源参数波动性能
抗气流干扰性
防误报性能
电磁兼容性能
气候环境耐受性
机械环境耐受性
火灾灵敏度
EC 912 离子浓度计通过专业化的技术设计与场景适配,解决了烟感测试箱中离子浓度精准测量的核心技术难题,为烟感探测器的生产校准、合规检测、研发实验提供了可靠的技术支撑。随着消防标准的不断升级,该设备在提升烟感检测标准化水平、保障火灾预警可靠性方面的应用价值将进一步凸显。
EC-912 型离子浓度计每套内含1枚V类 Am-241 密封放射源,单枚活度不超过1.3×105Bq,所以按照国家辐射安全法规的要求,销售和使用放射性同位素和射线装置的单位均应办理辐射安全相关手续方可从事相关业务。

作为 Force Technology MIC EC-912 型离子浓度计在中国的独家代理,欧美大地仪器科技有限公司已获得生态环境部同意关于 Force Technology 生产的 EC-912 离子浓度计的最终用户使用豁免管理的正式复函,自此,用户或者中间商无论是否取得辐射安全许可证均可以从我司购买离子浓度计以及进行此离子浓度计的标定。
特别提醒:从非官方渠道购买且未办理相关手续,在中国境内使用该设备属于违法使用放射性危险品的行为,选择正规渠道是安全合规的唯一保障。
目前在售两款型号的离子型浓度计,点击图片可了解详情

EC-912-20 模拟测量电离室控制单元

EC-912-25 智能测量电离室控制单元
有关 MIC 烟雾测量设备(型号 EC-912)价格和供货情况等更多信息,请联系欧美大地仪器设备有限公司。

Force Technology 公司,成立于 1940 年,总部位于丹麦,是丹麦大型 GTS (RTO)机构之一,同时也是丹麦创新体系支柱的重要组成部分。
Force Technology 公司业务网络遍布全球,致力于帮助各企业成为行业领军者,为企业优化项目方案,保障社会安全,推动全球可持续发展,从而为社会带来积极影响。
欧美大地仪器设备 (EPC) 中国有限公司成立于1987年,在全国各地有多家分支机构。我们是 Force Technology 公司 EC-912型离子浓度计的中国总代理,如果您有任何关于此相关乐动在线官网-(中国)官方网站的需求,请与我们联系,我们将竭诚为您服务。

官方网址 | www.gktieyi.com
服务热线 | 400-700-9998