概述
DenimoTech的乳化(改性)沥青实验室研发平台可以在实验室内生产各类阳离子,阴离子和非离子乳化沥青,生产能力可达每小时200到350升;也可以用于生产聚合物改性沥青,生产能力可达每小时90到240升。
为了易于操作和运输,所有的部件都集成在一个钢制的框架中,底部带有万向轮,可以随意的移动位置,插电即可使用。在主机框架内部集成了沥青罐,水罐和改性沥青生产系统,均带有精确PLC控制器控制的加热元件,确保在生产过程中的各个环节均处于正确的温度。同时,沥青甭和运输管路整体都处于可控制温度的环境舱内,保证沥青从罐体到胶体磨的运输过程中温度同样是可控的。
在沥青和水进入胶体磨进行乳化研磨前,都可以在恒定的温度下进行自循环,确保进入胶体磨的沥青和水是均匀的、温度恒定的。试验机顶部带有一个可转动,转速可调的搅拌器,可以用于在沥青罐和改性沥青罐中对沥青进行搅拌,经过胶体磨研磨后的改性沥青甚至可以再次回到改性沥青罐中进行搅拌。
水和沥青的泵送系统都是通过PLC控制器和流量计控制的,确保在泵送过程中,管路中的液体流速都处于目标流速。胶体磨的转速连续可调,定子和转子之间的间隙可以分档调整,确保可以根据生产需求,分散不同粒径大小和分布的乳化沥青。设备的正面和背面的舱门均可以打开,提供充足的空间便于服务人员对设备进行调试和检修。

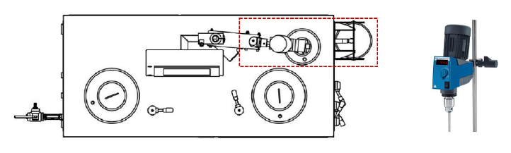
胶体磨
胶体磨的温度,压力和流速都是在软件界面实时显示的,所有的生产数据都会记录和保存下来。胶体磨的转速通过变频器进行控制。所有的生产参数都可以在软件中进行设置。胶体磨出口还配备了乳液冷却装置,用于生产高温高压的乳化沥青,例如PME聚合物改性乳化沥青。胶体磨中所有与沥青和水接触的部分都使用美国标准AISI316L的不锈钢材质制造,管路和其他部分使用美国标准AIS1316不锈钢材质制造,充分抵抗pH较低的沥青乳液的腐蚀。

额外的胶乳/乳化剂生产线选项
可以根据用户要求增配额外的生产线,用于在生产过程中添加胶乳或其他乳化剂。整条生产线包括变频器,高精度的流量计,压力传感器PID控制器等部分组成,整体集成到主系统的PLC控制器中,实现流量连续可变的控制和乳化剂/胶乳用量的自动控制。这种额外增加的生产线可以连接到水罐,沥青罐,胶体磨等任意客户希望连接的位置。

外部连接选项
整套设备还可以连接外部的罐体来扩展沥青罐和水罐来提高产量。当进行这种升级时,只需选配2个三通阀用于外部罐体和内部罐体之间的连接即可。
平台适用范围
DEP-P03R型研发平台适用于3种材料配方的研发,分别是:乳化沥青,聚合物改性沥青以及胶乳改性乳化沥青,试验的配方和生产工艺可以存储和调用。既可以对沥青进行先乳化再改性,也可以进行先改性再乳化。同时,整套系统适用于研发高粘度的乳化(改性)沥青,试验结束后,通过加热、冲洗可以清除管路内壁残留的沥青,橡胶颖粒或其他类型的各种残留物,避免管路的堵塞影响后续工作。

图形化自动控制技术
DenimoTech的乳化(改性)沥青实验室研发平台与市场上其他同类乐动在线官网-(中国)官方网站相比,显著的优势之一就是将整个生产流程实现了图形化和数字化,整个系统的各个部件都配备了数字传感器实时监测工作状态,乳化(改性)沥青生产工艺最重要的几个影响因素(温度压力,流速,研磨转速)的指标都是处于实时监控的状态。西门子工业触屏控制器可以实时显示整体生产流程界面,我们可以控制胶体磨,搅拌器和数据记录的开关。这种直观的界面设计可以使得研究人员对于整个流程“了如指掌”,一切尽在掌握,及时调整任何需要改动的工艺环节。

数据浏览和导出
所有传感器采集的数据都是以时间轴为序持续记录的,可以在软件的趋势界面中展示温度,压力和管路内液体流速在整个生产过程中的趋势变化,以及通过不同颜色的曲线来展示当前值与目标值之前的差异。这些数据都保存在系统内存中,并可以导出为.csv格式的文件,通过U盘导出到计算机中通过Excel程序打开进行进一步的分析。USB接口还可以用于扩展连接外置的鼠标、键盘、显示器、打印机等,进一步让试验人员的操作更加便利。
